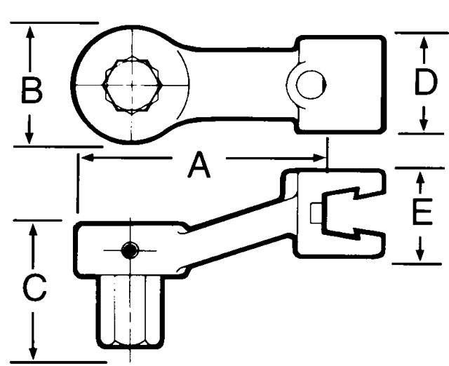
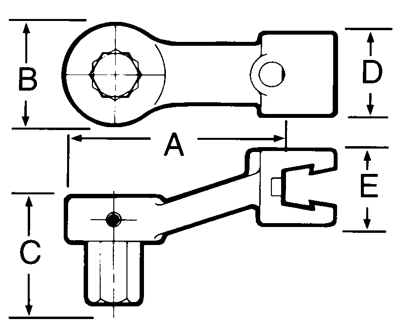
Hexnøgle hoved HD 5mm

480809316
Udskiftelige hoveder til momentnøgler.
By clicking 'Accept All' you consent that we may collect information about you for various purposes, including: Statistics and Marketing