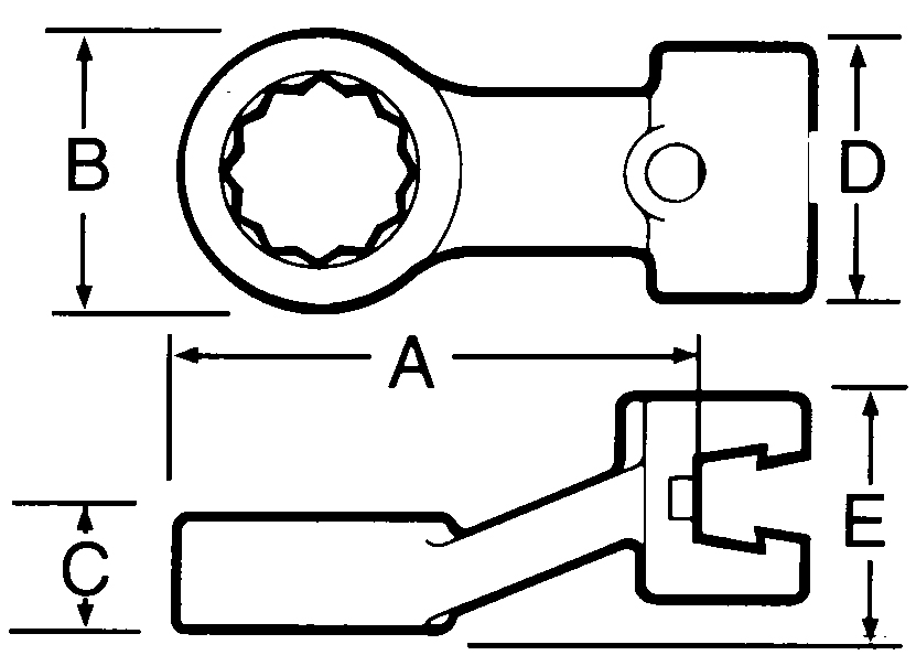
Ringnøgle BH 11 mm

480809231
Udskiftelige hoveder til momentnøgler.
By clicking 'Accept All' you consent that we may collect information about you for various purposes, including: Statistics and Marketing